Szintező gépláb (18342CI)
6570 Ft + Áfa (8344 Ft)
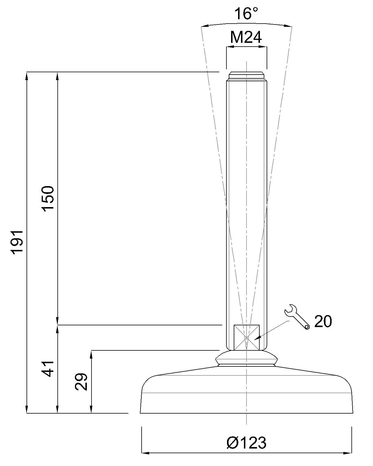
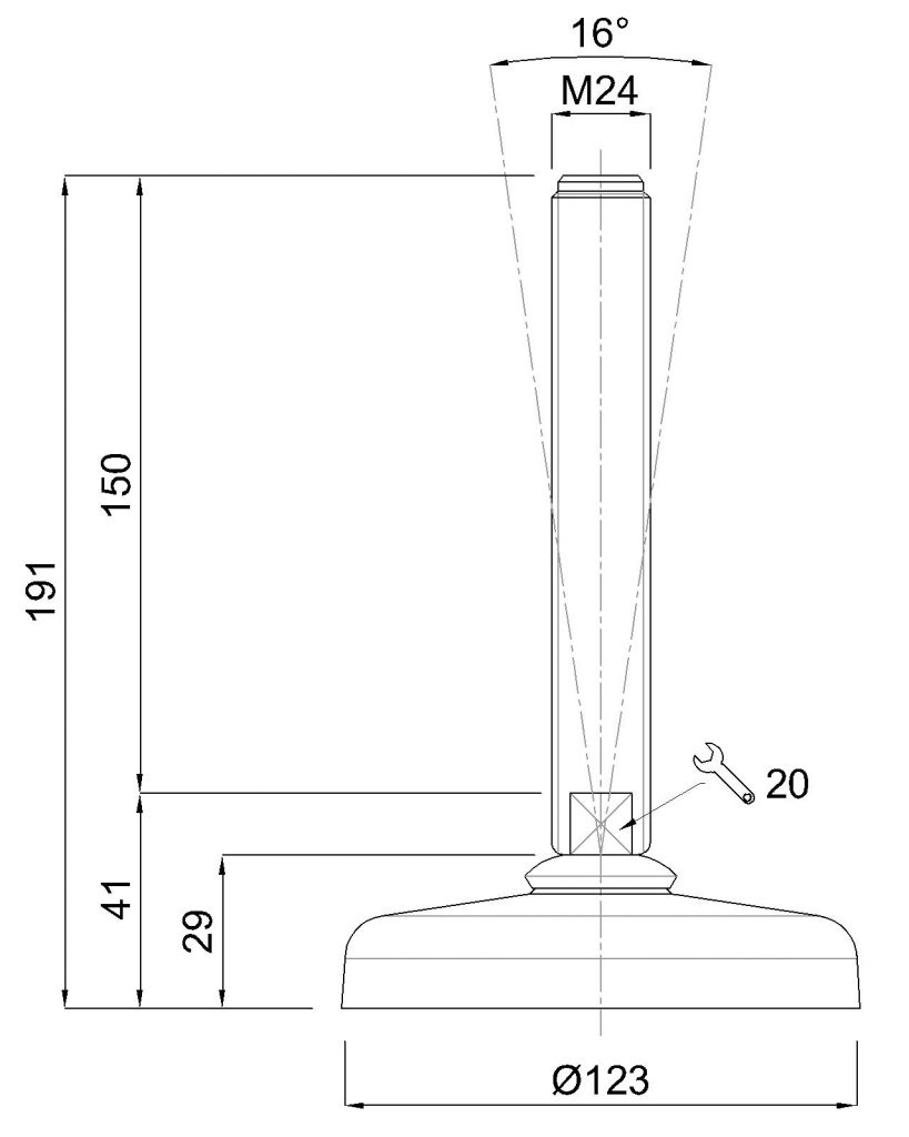
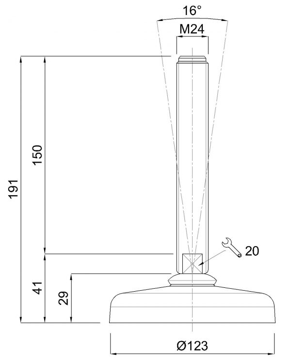
Szintező gépláb fémborítással, alacsony profil, rozsdamentes menetes szár, önbeálló (16°)
- Talp: Ø123
- Szár: M24x150
Állítható magasságú szintező gépláb üvegszállal erősített és rozsdamentes acéllemezzel borított alacsony profilú műanyag talppal és rozsdamentes menetes szárral, önbeálló (16°)
- Géptalp: kerek, üvegszál-erősítésű poliamid talp, alacsony profil, fekete színű, matt felület, rozsdamentes acél borítás
- Menetes szár: 1.4301 nemesacél – AISI 304 rozsdamentes köracélból, speciális higiénikus alátéttel
A műanyag talpba szerelt rozsdamentes, önbeálló menetes szárat egy villáskulcs segítségével könnyen el lehet forgatni és ezzel a géplábat pontosan pozícióba lehet állítani. A speciális higiénikus alátét nagyobb terhelhetőséget, a rozsdamentes acél borítás higiénikus megjelenést biztosít.
Technikai adatok
| Cikkszám | 18342CI |
| Menet-Ø (F) | M24 |
| Csavarhossz (B) | 150 |
| Talp-Ø (D) | 123 |
| Talpmagasság (G) | 29 |
| Padlótávolság (A) | 41 |
| Teljes magasság (H/H1) | 191 |
| Kulcsnyílás (SW) | 20 |
| Súly [gr] | 633 |
| Teherbírás [Newton] | 35 000 |
Fontos!
A táblázatban megadott terhelhetőség a menetes szár hosszának felénél számított statikus teherbírásra vonatkozik függőleges terheléskor. Rezgés vagy dinamikus terhelés esetén a teherbírás csökkenhet! További információért forduljon irodánkhoz. Átalakításból, javításból vagy módosításból eredő károkért vagy költségekért nem vállalunk felelősséget.
Egyéb információ
- Az ausztenites és saválló rozsdamentes acél 1.4301 – AISI 304 (más néven V2A vagy 18/10 Cr-Ni acél) különösen alacsony széntartalommal rendelkezik, és a leggyakrabban használt rozsdamentes acél. Korrózióálló és ugyanakkor jó mechanikai tulajdonságokkal rendelkezik.
- Az acél ellenáll az oxidációnak, a víznek, a vízgőznek, a légköri nedvességnek, az étkezési savaknak, valamint a gyenge szerves és szervetlen savaknak, ezért könnyen tisztítható.
- Az üvegszállal erősített poliamid hőállósága lényegesen nagyobb, mint a nem erősített típusoké.
A műanyag talpas szintező géplábak vagy önbeálló lábak ideális termékek, ha nagy mennyiségű géplábra van szükség, szállítópálya-rendszerekhez, és minden kis vagy közepes terhelésű alkalmazáshoz.
A karbantartásmentes gépláb a meneten keresztül fokozatmentesen állítható magasságú (a szár hosszától függően).
A menetes szár mindkét irányban kb. 8°-os szögkiegyenlítéssel rendelkezik, ami garantálja a gép stabil és pontos beállítását.
- fokozatmentes magasságállítás (a menetes szár hosszától függően) maximális stabilitás és minimális erőfeszítés mellett
A gépláb alkotóelemeit (géptalp és szár) már összeszerelve szállítjuk.
| Tömeg | 633 g |
|---|---|
| Menetméret (F) | |
| Csavarhossz (B) | |
| Talp-Ø (D) | |
| Talpmagasság (G) | |
| Padlótávolság (A) | |
| Teljes magasság | |
| Kulcsnyílás (SW) | |
| Teherbírás [Newton] | |
| Csavar anyaga | |
| Talp anyaga | |
| Talpkialakítás | |
| Gumitalp | |
| Kiegyenlítési szög | |
| Csavarméret | |
| Termékvonal | |
| Kiszerelési egység | |
| Márka |






